«Devo fare manutenzione a una caldaia alimentata a metano di potenzialità inferiore ai 35 kW con il collegamento gas in tubo multistrato come da fotografia. A me non pare a norma… », chiede un lettore di GT.
La sua osservazione “pare” esatta. La norma di riferimento è la UNI 7129-1:2015 a cui si rimanda per una lettura integrale, che prescrive per i collegamenti gas al punto 4.3.1.4 Tubi in materiale multistrato metallo-plastico:
“le tubazioni di materiale metallo plastico non possono essere installate a vista“.
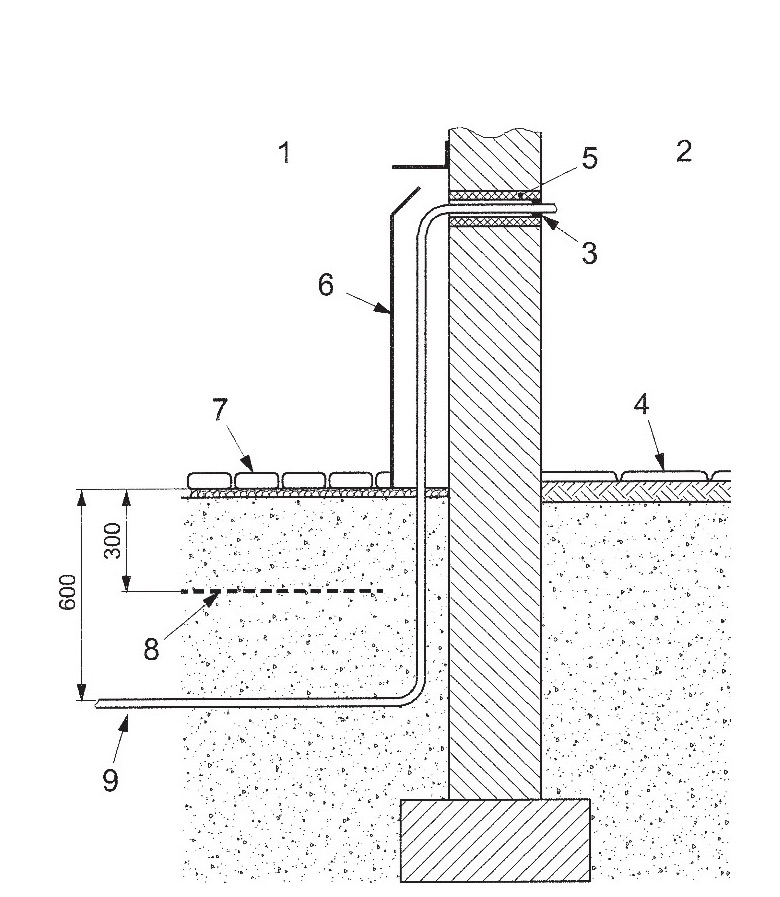
Accorgimenti per sanare la situazione non ne abbiamo trovati, ma nella figura qui sotto è schematizzato un esempio con tubo multistrato a vista protetto da 6 Alloggiamento tecnico (canaletta) che riproduce la sua situazione.

1 Esterno dell’edificio
2 Locale interno piano terra
3 Sigillatura
4 Pavimentazione
5 Guaina aerata
6 Alloggiamento tecnico (canaletta)
7 Eventuale pavimentazione
8 Nastro di segnalazione
9 Tubazione multistrato
Normalmente il tubo multistrato, come da definizione della UNI 7128 punto 5.6, è previsto per impianti di acqua calda e fredda, riscaldamento e raffrescamento, ma esiste ampia produzione certificata per gas.
L’ultima parola per l’idoneità è lasciata alla scheda tecnica del materiale che si sta usando.